水泥生產用石灰石原料板喂機原理及構造
瀏覽次數:發布日期:2021-02-22
背景技術:
板式喂料機為連續輸送物料機械的一種,用于沿水平或傾斜方向向破碎機、輸送機或其他工作機械連續均勻地配給和轉運物料,板喂機適用于大中型水泥廠生產線中松散、塊狀、量大喂料工序,能運送大塊,可在高溫高濕惡劣環境中可靠工作,尤其對運送大塊、高溫和尖銳的物料最為適合,并能在露天和潮濕惡劣的環境下可靠地工作,水泥生產用石灰石原料板喂機就是一種輸送石灰石原料的重型板式喂料機。
傳統的重型板式喂料機的驅動動力僅僅是通過驅動滾軸進行供給,缺少輔助驅動措施,在進行傳送時不夠穩定,實用性較差。
技術實現要素:
本技術的目的是為了解決現有技術中存在的缺點,而提出的一種水泥生產用石灰石原料板喂機。
為了實現上述目的,本技術采用了如下技術方案:一種水泥生產用石灰石原料板喂機,包括板喂機本體,所述板喂機本體內部兩側對稱轉動連接有驅動滾軸和從動滾軸,且驅動滾軸和從動滾軸之間轉動連接有傳送架,所述喂料機本體位于驅動滾軸一端通過電機固定架螺旋固定有第一傳送電機,且第一傳送電機通過第一傳動皮帶與驅動滾軸傳動連接,所述喂料機本體的頂部開口兩側通過支撐側架焊接有傳送擋板,所述驅動滾軸和從動滾軸之間連接有固定橫架,所述固定橫架的頂部通過轉動軸承等距轉動連接有多個支撐滾軸,且多個支撐滾軸之間通過傳送鏈條轉動連接,所述固定橫架一端嵌入固定有第二傳送電機,且第二傳送電機通過第二傳動皮帶與支撐滾軸傳動連接。
作為上述技術方案的進一步描述:
所述傳送擋板的內部通過轉動架等距轉動連接有多個轉動滾軸。
作為上述技術方案的進一步描述:
所述驅動滾軸和從動滾軸的長度和直徑均相等,且驅動滾軸和從動滾軸位于同一高度。
作為上述技術方案的進一步描述:
所述支撐滾軸的長度與驅動滾軸的長度相等。
作為上述技術方案的進一步描述:
所述支撐滾軸的長度與傳送架的寬度相等,且支撐滾軸的頂部與傳送架的底部相互接觸。
本技術中,首先通過設有第二傳送電機,第二傳送電機通過通過傳動皮帶帶動支撐滾軸進行轉動,支撐滾軸既可以對傳送架進行支撐,同時支撐滾軸可以輔助驅動滾軸對傳送架進行傳送,增強該喂料機的穩定性,提高其動力,其次,通過在兩個傳送擋板的內側均等距轉動連接有轉動滾軸,減小石灰石原料與傳送擋板之間的摩擦力,防止石灰石原料在傳送架上滾動無法進行輸送,使得該石灰石原料板式喂料機輸送原料更加的均勻可靠。
附圖說明
本技術提出的一種水泥生產用石灰石原料板喂機的整體結構示意圖;

圖例說明:
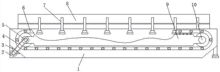
1-板喂機本體、2-第一去傳送電機、3-電機固定架、4-第一傳動皮帶、5-驅動滾軸、6-傳送架、7-支撐側架、8-傳送擋板、9-固定橫架、10-從動滾軸、11-轉動軸承、12-支撐滾軸、13-傳送鏈條、14- 第二傳動皮帶、15-第二傳送電機、16-轉動架、17轉動滾軸。
具體實施方式
下面將結合本技術實施例中的附圖,對本技術實施例中的技術方案進行清楚、完整地描述,顯然,所描述的實施例僅僅是本技術一部分實施例,而不是全部的實施例。
參照圖示,一種水泥生產用石灰石原料板喂機,包括喂料機本體1,喂料機本體1內部兩側對稱轉動連接有驅動滾軸5和從動滾軸10,且驅動滾軸5和從動滾軸10之間轉動連接有傳送架6,喂料機本體1位于驅動滾軸5一端通過電機固定架3螺旋固定有第一傳送電機2,且第一傳送電機2通過第一傳動皮帶4與驅動滾軸5傳動連接,喂料機本體1的頂部開口兩側通過支撐側架7焊接有傳送擋板8,驅動滾軸5和從動滾軸10之間連接有固定橫架9,固定橫架9 的頂部通過轉動軸承11等距轉動連接有多個支撐滾軸12,且多個支撐滾軸12之間通過傳送鏈條13轉動連接,固定橫架9一端嵌入固定有第二傳送電機15,且第二傳送電機15通過第二傳動皮帶14與支撐滾軸12傳動連接。
傳送擋板8的內部通過轉動架16等距轉動連接有多個轉動滾軸 17,驅動滾軸5和從動滾軸10的長度和直徑均相等,且驅動滾軸5 和從動滾軸10位于同一高度,
支撐滾軸12的長度與驅動滾軸5的長度相等,支撐滾軸12的長度與傳送架6的寬度相等,且支撐滾軸12的頂部與傳送架6的底部相互接觸,可以通過轉動滾軸12的轉動作用于傳送架6,配合驅動滾軸5輔助對傳送架6進行傳送。
工作原理:
該水泥生產用石灰石原料板喂機使用時,第一傳送電機2通過第一傳動皮帶4帶動驅動滾軸5進行轉動,驅動滾軸5通過從動滾軸10帶動傳送架6進行轉動,同時第二傳送電機15 通過第二傳動皮帶14帶動支撐滾軸12進行轉動,在處三年連通13 的作用下多個支撐滾軸12同時開始轉動,從而輔助驅動滾軸5對傳送架6進行驅動,使得傳送架6傳送時更加的平穩,從而將傳送架6 上的石灰石原料進行輸送喂料,輸送喂料時,喂料機本體1頂部兩側的傳送擋板8可以對石灰石原料進行遮擋,防止石灰石原料從而喂料機本體1外側掉落。
技術特征:
1.一種水泥生產用石灰石原料板喂機,包括喂料機本體(1),其特征在于,所述喂料機本體(1)內部兩側對稱轉動連接有驅動滾軸(5)和從動滾軸(10),且驅動滾軸(5)和從動滾軸(10)之間轉動連接有傳送架(6),所述喂料機本體(1)上位于驅動滾軸(5)一端通過電機固定架(3)螺旋固定有第一傳送電機(2),且第一傳送電機(2)通過第一傳動皮帶(4)與驅動滾軸(5)傳動連接,所述喂料機本體(1)的頂部開口兩側通過支撐側架(7)焊接有傳送擋板(8),所述驅動滾軸(5)和從動滾軸(10)之間連接有固定橫架(9),所述固定橫架(9)的頂部通過轉動軸承(11)等距轉動連接有多個支撐滾軸(12),且多個支撐滾軸(12)之間通過傳送鏈條(13)轉動連接,所述固定橫架(9)一端嵌入固定有第二傳送電機(15),且第二傳送電機(15)通過第二傳動皮帶(14)與支撐滾軸(12)傳動連接。
2.根據實用要求1所述的一種水泥生產用石灰石原料板喂機,其特征在于,所述傳送擋板(8)的內部通過轉動架(16)等距轉動連接有多個轉動滾軸(17)。
3.根據實用要求1所述的一種水泥生產用石灰石原料板喂機,其特征在于,所述驅動滾軸(5)和從動滾軸(10)的長度和直徑均相等,且驅動滾軸(5)和從動滾軸(10)位于同一高度。
4.根據實用要求1所述的一種水泥生產用石灰石原料板喂機,其特征在于,所述支撐滾軸(12)的長度與驅動滾軸(5) 的長度相等。
5.根據實用要求1所述的一種水泥生產用石灰石原料板喂機,其特征在于,所述支撐滾軸(12)的長度與傳送架(6)的寬度相等,且支撐滾軸(12)的頂部與傳送架(6)的底部相互接觸。
技術總結
本技術公開了一種水泥生產用石灰石原料板喂機,包括喂料機本體,所述喂料機本體內部兩側對稱轉動連接有驅動滾軸和從動滾軸,且驅動滾軸和從動滾軸之間轉動連接有傳送架,所述喂料機本體位于驅動滾軸一端通過電機固定架螺旋固定有第一傳送電機,且第一傳送電機通過第一傳動皮帶與驅動滾軸傳動連接,所述喂料機本體的頂部開口兩側通過支撐側架焊接有傳送擋板,所述驅動滾軸和從動滾軸之間連接有固定橫架。本技術中,通過設有第二傳送電機,第二傳送電機通過通過傳動皮帶帶動支撐滾軸進行轉動,支撐滾軸既可以對傳送架進行支撐,同時支撐滾軸可以輔助驅動滾軸對傳送架進行傳送,增強該喂料機的穩定性,提高其動力。
板式喂料機為連續輸送物料機械的一種,用于沿水平或傾斜方向向破碎機、輸送機或其他工作機械連續均勻地配給和轉運物料,板喂機適用于大中型水泥廠生產線中松散、塊狀、量大喂料工序,能運送大塊,可在高溫高濕惡劣環境中可靠工作,尤其對運送大塊、高溫和尖銳的物料最為適合,并能在露天和潮濕惡劣的環境下可靠地工作,水泥生產用石灰石原料板喂機就是一種輸送石灰石原料的重型板式喂料機。
傳統的重型板式喂料機的驅動動力僅僅是通過驅動滾軸進行供給,缺少輔助驅動措施,在進行傳送時不夠穩定,實用性較差。
技術實現要素:
本技術的目的是為了解決現有技術中存在的缺點,而提出的一種水泥生產用石灰石原料板喂機。
為了實現上述目的,本技術采用了如下技術方案:一種水泥生產用石灰石原料板喂機,包括板喂機本體,所述板喂機本體內部兩側對稱轉動連接有驅動滾軸和從動滾軸,且驅動滾軸和從動滾軸之間轉動連接有傳送架,所述喂料機本體位于驅動滾軸一端通過電機固定架螺旋固定有第一傳送電機,且第一傳送電機通過第一傳動皮帶與驅動滾軸傳動連接,所述喂料機本體的頂部開口兩側通過支撐側架焊接有傳送擋板,所述驅動滾軸和從動滾軸之間連接有固定橫架,所述固定橫架的頂部通過轉動軸承等距轉動連接有多個支撐滾軸,且多個支撐滾軸之間通過傳送鏈條轉動連接,所述固定橫架一端嵌入固定有第二傳送電機,且第二傳送電機通過第二傳動皮帶與支撐滾軸傳動連接。
作為上述技術方案的進一步描述:
所述傳送擋板的內部通過轉動架等距轉動連接有多個轉動滾軸。
作為上述技術方案的進一步描述:
所述驅動滾軸和從動滾軸的長度和直徑均相等,且驅動滾軸和從動滾軸位于同一高度。
作為上述技術方案的進一步描述:
所述支撐滾軸的長度與驅動滾軸的長度相等。
作為上述技術方案的進一步描述:
所述支撐滾軸的長度與傳送架的寬度相等,且支撐滾軸的頂部與傳送架的底部相互接觸。
本技術中,首先通過設有第二傳送電機,第二傳送電機通過通過傳動皮帶帶動支撐滾軸進行轉動,支撐滾軸既可以對傳送架進行支撐,同時支撐滾軸可以輔助驅動滾軸對傳送架進行傳送,增強該喂料機的穩定性,提高其動力,其次,通過在兩個傳送擋板的內側均等距轉動連接有轉動滾軸,減小石灰石原料與傳送擋板之間的摩擦力,防止石灰石原料在傳送架上滾動無法進行輸送,使得該石灰石原料板式喂料機輸送原料更加的均勻可靠。
附圖說明
本技術提出的一種水泥生產用石灰石原料板喂機的整體結構示意圖;

圖例說明:
1-板喂機本體、2-第一去傳送電機、3-電機固定架、4-第一傳動皮帶、5-驅動滾軸、6-傳送架、7-支撐側架、8-傳送擋板、9-固定橫架、10-從動滾軸、11-轉動軸承、12-支撐滾軸、13-傳送鏈條、14- 第二傳動皮帶、15-第二傳送電機、16-轉動架、17轉動滾軸。
具體實施方式
下面將結合本技術實施例中的附圖,對本技術實施例中的技術方案進行清楚、完整地描述,顯然,所描述的實施例僅僅是本技術一部分實施例,而不是全部的實施例。
參照圖示,一種水泥生產用石灰石原料板喂機,包括喂料機本體1,喂料機本體1內部兩側對稱轉動連接有驅動滾軸5和從動滾軸10,且驅動滾軸5和從動滾軸10之間轉動連接有傳送架6,喂料機本體1位于驅動滾軸5一端通過電機固定架3螺旋固定有第一傳送電機2,且第一傳送電機2通過第一傳動皮帶4與驅動滾軸5傳動連接,喂料機本體1的頂部開口兩側通過支撐側架7焊接有傳送擋板8,驅動滾軸5和從動滾軸10之間連接有固定橫架9,固定橫架9 的頂部通過轉動軸承11等距轉動連接有多個支撐滾軸12,且多個支撐滾軸12之間通過傳送鏈條13轉動連接,固定橫架9一端嵌入固定有第二傳送電機15,且第二傳送電機15通過第二傳動皮帶14與支撐滾軸12傳動連接。
傳送擋板8的內部通過轉動架16等距轉動連接有多個轉動滾軸 17,驅動滾軸5和從動滾軸10的長度和直徑均相等,且驅動滾軸5 和從動滾軸10位于同一高度,
支撐滾軸12的長度與驅動滾軸5的長度相等,支撐滾軸12的長度與傳送架6的寬度相等,且支撐滾軸12的頂部與傳送架6的底部相互接觸,可以通過轉動滾軸12的轉動作用于傳送架6,配合驅動滾軸5輔助對傳送架6進行傳送。
工作原理:
該水泥生產用石灰石原料板喂機使用時,第一傳送電機2通過第一傳動皮帶4帶動驅動滾軸5進行轉動,驅動滾軸5通過從動滾軸10帶動傳送架6進行轉動,同時第二傳送電機15 通過第二傳動皮帶14帶動支撐滾軸12進行轉動,在處三年連通13 的作用下多個支撐滾軸12同時開始轉動,從而輔助驅動滾軸5對傳送架6進行驅動,使得傳送架6傳送時更加的平穩,從而將傳送架6 上的石灰石原料進行輸送喂料,輸送喂料時,喂料機本體1頂部兩側的傳送擋板8可以對石灰石原料進行遮擋,防止石灰石原料從而喂料機本體1外側掉落。
技術特征:
1.一種水泥生產用石灰石原料板喂機,包括喂料機本體(1),其特征在于,所述喂料機本體(1)內部兩側對稱轉動連接有驅動滾軸(5)和從動滾軸(10),且驅動滾軸(5)和從動滾軸(10)之間轉動連接有傳送架(6),所述喂料機本體(1)上位于驅動滾軸(5)一端通過電機固定架(3)螺旋固定有第一傳送電機(2),且第一傳送電機(2)通過第一傳動皮帶(4)與驅動滾軸(5)傳動連接,所述喂料機本體(1)的頂部開口兩側通過支撐側架(7)焊接有傳送擋板(8),所述驅動滾軸(5)和從動滾軸(10)之間連接有固定橫架(9),所述固定橫架(9)的頂部通過轉動軸承(11)等距轉動連接有多個支撐滾軸(12),且多個支撐滾軸(12)之間通過傳送鏈條(13)轉動連接,所述固定橫架(9)一端嵌入固定有第二傳送電機(15),且第二傳送電機(15)通過第二傳動皮帶(14)與支撐滾軸(12)傳動連接。
2.根據實用要求1所述的一種水泥生產用石灰石原料板喂機,其特征在于,所述傳送擋板(8)的內部通過轉動架(16)等距轉動連接有多個轉動滾軸(17)。
3.根據實用要求1所述的一種水泥生產用石灰石原料板喂機,其特征在于,所述驅動滾軸(5)和從動滾軸(10)的長度和直徑均相等,且驅動滾軸(5)和從動滾軸(10)位于同一高度。
4.根據實用要求1所述的一種水泥生產用石灰石原料板喂機,其特征在于,所述支撐滾軸(12)的長度與驅動滾軸(5) 的長度相等。
5.根據實用要求1所述的一種水泥生產用石灰石原料板喂機,其特征在于,所述支撐滾軸(12)的長度與傳送架(6)的寬度相等,且支撐滾軸(12)的頂部與傳送架(6)的底部相互接觸。
技術總結
本技術公開了一種水泥生產用石灰石原料板喂機,包括喂料機本體,所述喂料機本體內部兩側對稱轉動連接有驅動滾軸和從動滾軸,且驅動滾軸和從動滾軸之間轉動連接有傳送架,所述喂料機本體位于驅動滾軸一端通過電機固定架螺旋固定有第一傳送電機,且第一傳送電機通過第一傳動皮帶與驅動滾軸傳動連接,所述喂料機本體的頂部開口兩側通過支撐側架焊接有傳送擋板,所述驅動滾軸和從動滾軸之間連接有固定橫架。本技術中,通過設有第二傳送電機,第二傳送電機通過通過傳動皮帶帶動支撐滾軸進行轉動,支撐滾軸既可以對傳送架進行支撐,同時支撐滾軸可以輔助驅動滾軸對傳送架進行傳送,增強該喂料機的穩定性,提高其動力。
下一篇:污泥輸送刮板輸送機改進技術方案